Grubenabdeckungen für Werkstätten & Prüfgruben
DeMa System GmbH unterstützt Werkstätten, Servicebetriebe und Industrieunternehmen mit maßgeschneiderten Grubenabdeckungen aus Aluminium. Begehbar oder befahrbar – je nach Auslegung – und sauber projektbezogen kalkuliert.
Für eine schnelle Einschätzung: Bitte senden Sie Grubenmaße (L×B×T), Fotos und eine kurze Info zur Nutzung (nur begehbar / befahrbar, Fahrzeugtyp, Radlast). Damit wird die Auslegung belastbar.
Warum eine Grubenabdeckung sinnvoll ist
Offene Inspektionsgruben erhöhen Absturz- und Verletzungsrisiken. Mit einer passenden Abdeckung wird die Grube zur sicheren, nutzbaren Arbeitsfläche – ohne die Funktion der Grube einzuschränken.
Mehr Sicherheit
Reduzierte Absturzrisiken, sichere Wege – für Mitarbeitende, Kunden und Besucher.
Mehr nutzbare Fläche
Bei geschlossener Grube steht die Fläche als normaler Boden zur Verfügung – für Fahrzeuge, Arbeitsplätze oder Lagerung.
Professioneller Eindruck
Sauber abgesicherte Gruben unterstützen Arbeitssicherheit und Außenwirkung bei Prüfstellen und Kunden.
Erforderliche Maße für eine belastbare Auslegung
Damit die Abdeckung passgenau gefertigt und statisch korrekt ausgelegt werden kann, benötigen wir die Grundmaße der Grube und – je nach Variante – zusätzliche Angaben zum Auflager.
1) Grundmaße (Skizze 1)
- L – lichte Grubenlänge
- B – lichte Grubenbreite
- optional: Grubentiefe bzw. Sohlenhöhe (falls relevant)
Bitte von tragfähiger Kante zu tragfähiger Kante messen. Einbauten (Leiter, Podest, Kanäle), die in die Grube ragen, bitte auf einer einfachen Skizze markieren und mit Fotos dokumentieren.
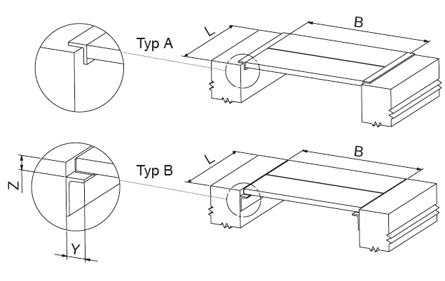
2) Varianten und Zusatzmaße (Skizze 2)
Typ A – aufliegende Abdeckung
- lichte Maße L und B
- Zustand/Breite des tragfähigen Auflagerandes
- Kanten, Aussparungen, Unterbrechungen am Rand
Typ B – bündige Abdeckung auf Winkelprofilen
- Y – Auflagerbreite der Winkelprofile an der Grubenwand
- Z – Einbauhöhe/Absenkung der Winkelprofile unter fertiger Bodenoberkante
- Wandkonstruktion (Beton, Stahl, Mauerwerk etc.)
Wenn noch unklar ist, welcher Typ passt: L und B + Fotos reichen für den Start. Detailmaße (Y/Z) klären wir im Projekt.
Beispielgrößen & Preisrahmen
Die Grubenabdeckungen werden nach Maß gefertigt. Die folgenden Beispiele dienen ausschließlich der Orientierung. Verbindliche Preise ergeben sich aus Geometrie, Traglast/Radlast, Segmentierung, Oberfläche und Zubehör.
Typ A – aufliegende Ausführung
Beispielmaß Grube: ca. 2.500 × 1.000 mm · Traglast 1.000 kg (optional bis 3.000 kg) · inkl. 2 Schürhaken
* zzgl. MwSt., abhängig von Grubengeometrie, Segmentanzahl, Oberfläche und Zubehör.
Typ B – bündige, befahrbare Ausführung
Beispielmaß Grube: ca. 2.500 × 1.000 mm · Radlast 1.000 kg (optional bis 3.000 kg) · inkl. 2 Schürhaken
* zzgl. MwSt., abhängig von Traglast, Geometrie, Segmentierung und Oberflächenausführung.
Hinweis: Sonderlösungen (Aussparungen, Sondergeometrien, erhöhte Rutschhemmung, zusätzliche Profile) kalkulieren wir projektbezogen – mit klarer Beschreibung der Ausführung.
Material & Ausführungsoptionen
Aluminium als Standardmaterial
- korrosionsbeständige Aluminiumlegierungen
- geringes Eigengewicht – Elemente i. d. R. manuell bewegbar
- begehbare und (je nach Auslegung) befahrbare Ausführungen
- Segmentbauweise – einzelne Felder gezielt zu öffnen
- gut kombinierbar mit Beton- und Stahlkonstruktionen
- Fertigung/Komponenten in Qualität „Made in Germany“
Optionale Ausstattung & Sonderlösungen
- angepasste Traglasten und Sicherheitsreserven je nach Lastprofil
- Oberflächen mit erhöhter Rutschhemmung (feucht/ölbelastet)
- Aussparungen/Ausklinkungen für Leitern, Kanäle, Einbauten
- Zusatzprofile/Anschlüsse (z. B. Geländer, Bordkanten, Abtrennungen)
So läuft ein Projekt ab
Sie haben einen festen Ansprechpartner – wir koordinieren die Ausarbeitung bis zur fertigen Lösung.
Basisdaten & Nutzung
Maße (L×B×T), Fotos, Pläne/Skizzen (falls vorhanden) und Nutzungsprofil (begehbar/befahrbar, Fahrzeugtyp, Radlast).
Technische Einschätzung
Prüfung der Geometrie, Lasten und Randbedingungen. Empfehlung Typ A/Typ B sowie Segmentierung.
Angebot & Detailklärung
Projektangebot mit Ausführungsbeschreibung. Offene Punkte (Oberfläche, Handhabung, Aussparungen) klären wir direkt.
Fertigung & Lieferung
Nach Freigabe Fertigung und montagebereite Lieferung. Optional Abstimmung mit Ihren ausführenden Betrieben.
Grubenabdeckung geplant?
Schicken Sie Maße, Fotos und Nutzungsprofil. Sie erhalten eine klare Einschätzung und ein projektbezogenes Angebot.
Anfrage per E-Mail senden WhatsApp (Fotos senden) Kontaktformular